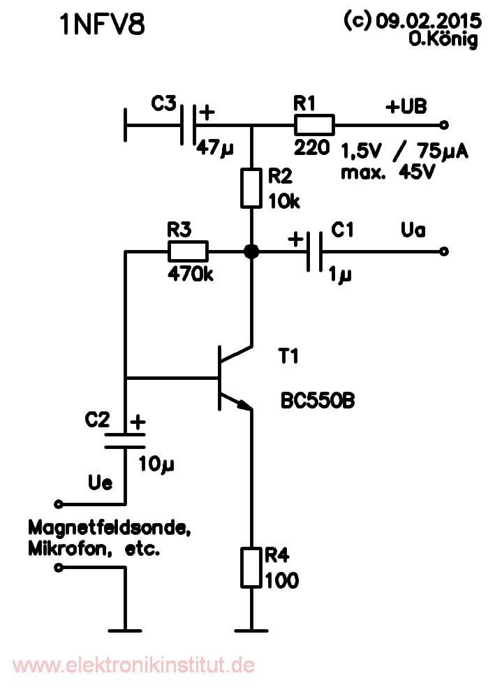
1NFV8:
Simpler Mikrofonvorverstärker
Auf der Suche nach einem möglichst einfachen für 1,5V
geeigneten Vorverstärker für Mikrofone, irgendwelche
Magnetfeldsonden oder sonstige Experimente entstand der Typ
1NFV8.
Die Spannungsverstärkung vu ist bei 1,5V-UB = 26dB
(20-fach);
bis 12V-UB steigt sie auf 35dB (60-fach). Theoretisch kann man bis zu
36V anschließen. Optimal ist eine Signalquelle die weniger
als 1k
Ω hat, alles andere am besten
ausprobieren. Der Ausgang sollte möglichst
hochohmig weiterverstärkt werden, am besten mit RL >100k
Ω. Inzwischen wurde die
Schaltung
durch ein fortschrittliches Simulatorprogramm der Firma LT
gedreht, wodurch die Werte optimiert werden konnten.

R1 (220
Ω)
und C3 (47µF) bilden einen Tiefpass der Brummen verschwinden
lässt und Einschaltknacken stark vermindert (das ist wichtig,
sonst gibt es nur Schwierigkeiten). Der Kollektorwiderstand R2 (10k
Ω)
ist relativ hochohmig, was für einen sehr geringen
Stromverbrauch
sorgt. Der nachfolgende Verstärker sollte entsprechend
hochohmig
sein (ideal 470k). Durch den geringen Kollektorstrom ist die
Verstärkung
allerdings von UB abhängig. R4 (100
Ω)
stabilisiert dieses Verhalten etwas und sorgt für mehr
Linearität sowie Betriebssicherheit. Ansonsten kann man es
auch
mit R2 = 4,7 kΩ versuchen. Als Empfänger für
niederfrequente magnetische Wechselfelder eignen
sich
Spulen aus Spaltpolmotoren oder alten
Rasierapparaten.
Prototyp (hat noch die alten Werte)
Weiterführende Schaltungen
Für bessere Qualität und höhere
Verstärkung sind zwei oder drei Transistoren nötig.
Der
Bauteilaufwand steigt damit auf 12...20. Für sehr gute
Qualität bei geringstem Aufwand bieten sich
Operationsverstärker an, z.B. TL072 oder NE5534.